जब आपको लागत प्रभावी स्प्लिट पिन मिलता है, तो यह गुणवत्ता प्रमाणपत्र के साथ आ सकता है। यह मूल रूप से एक कागजी कार्रवाई है जो कहती है कि स्प्लिट पिन की जाँच कर ली गई है और यह कुछ मानकों को पूरा करता है।
प्रमाणपत्र में स्प्लिट पिन के बारे में विवरण सूचीबद्ध है - इसे किसने बनाया, यह किस चीज से बना है, इसका आकार और यह किस बैच से आया है। इससे पता चलता है कि स्प्लिट पिन का परीक्षण ताकत, आकार सटीकता और क्या यह बिना टूटे ठीक से मुड़ता है जैसी चीजों के लिए किया गया था। वे यह भी जांचते हैं कि सतह का उपचार, जैसे जस्ता चढ़ाना, सही ढंग से किया गया है।
प्रमाणपत्र पर परीक्षण करने वाले निरीक्षकों द्वारा हस्ताक्षर और मोहर लगाई जाती है। यह कागजी कार्रवाई उन व्यवसायों के लिए उपयोगी है जिन्हें यह साबित करने की आवश्यकता है कि उनका स्प्लिट पिन विशिष्ट आवश्यकताओं को पूरा करता है, खासकर ऑटोमोटिव या विनिर्माण जैसे उद्योगों में जहां गुणवत्ता ट्रैकिंग महत्वपूर्ण है। यह मूल रूप से आपका आश्वासन है कि स्प्लिट पिन प्राप्त करने से पहले उसकी ठीक से जांच कर ली गई है।
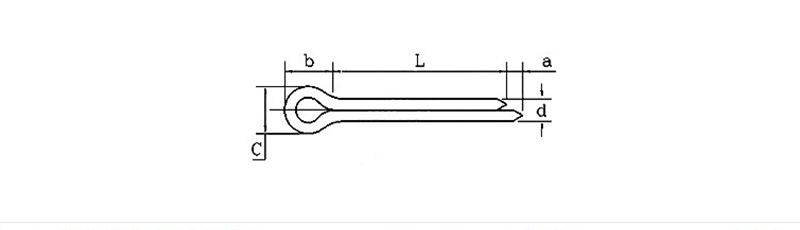
| d | 0.6 | 0.8 | 1 | 1.2 | 1.5 | 2 | 2.5 | 3.2 | 4 | 5 | 6.3 | 8 | 10 | 13 | 16 | 20 | |
| d | अधिकतम | 0.5 | 0.7 | 0.9 | 1 | 1.4 | 1.8 | 2.3 | 2.9 | 3.7 | 4.6 | 5.9 | 7.5 | 9.5 | 12.4 | 15.4 | 19.3 |
| मिन | 0.4 | 0.6 | 0.8 | 0.9 | 1.3 | 1.7 | 2.1 | 2.7 | 3.5 | 4.4 | 5.7 | 7.3 | 9.3 | 12.1 | 15.1 | 19 | |
| a | अधिकतम | 1.6 | 1.6 | 1.6 | 2.5 | 2.5 | 2.5 | 2.5 | 3.2 | 4 | 4 | 4 | 4 | 6.3 | 6.3 | 6.3 | 6.3 |
| मिन | 0.8 | 0.8 | 0.8 | 1.25 | 1.25 | 1.25 | 1.25 | 1.6 | 2 | 2 | 2 | 2 | 3.15 | 3.15 | 3.15 | 3.15 | |
| बी≈ | 2 | 2.4 | 3 | 3 | 3.2 | 4 | 5 | 6.4 | 8 | 10 | 12.6 | 16 | 20 | 26 | 32 | 40 | |
| C | अधिकतम | 1 | 1.4 | 1.8 | 2 | 2.8 | 3.6 | 4.6 | 5.8 | 7.4 | 9.2 | 11.8 | 15 | 19 | 24.8 | 30.8 | 38.5 |
| मिन | 0.9 | 1.2 | 1.6 | 1.7 | 2.4 | 3.2 | 4 | 5.1 | 6.5 | 8 | 10.3 | 13.1 | 16.6 | 21.7 | 27 | 33.8 | |
लागत प्रभावी स्प्लिट पिन का उपयोग मुख्य रूप से मशीनों, कारों और उपकरणों में भागों को ढीला होने से बचाने के लिए किया जाता है। इसका काम कंपन के कारण बोल्ट, शाफ्ट या अन्य पिनों को फिसलने से रोकना है। उदाहरण के लिए, किसी कार में, आपको अक्सर चीजों को सुरक्षित रखने में मदद के लिए व्हील हब या सस्पेंशन में एक स्प्लिट पिन मिलेगा।
फ़ैक्टरी मशीनों में, सब कुछ संरेखित रखने के लिए टिका लगाने या हिलाने वाले जोड़ों में स्प्लिट पिन का उपयोग किया जा सकता है। नावों पर, यह क्लीट जैसे हार्डवेयर को अपनी जगह पर रख सकता है। रोजमर्रा के उपयोग के लिए, आप लॉनमूवर ब्लेड या साइकिल पैडल को सुरक्षित करने के लिए स्प्लिट पिन का उपयोग कर सकते हैं। आप बस स्प्लिट पिन को एक छेद के माध्यम से धकेलें और दोनों कांटों को अलग-अलग मोड़ें - यह कनेक्शन बनाने का एक सरल तरीका है जो सुरक्षित रूप से जुड़ा रहता है लेकिन फिर भी जरूरत पड़ने पर हटाया जा सकता है।
प्रश्न: क्या आप अपने लागत प्रभावी स्प्लिट पिन के लिए प्रमाणपत्र प्रदान कर सकते हैं?
उत्तर: हाँ, हम आपको पिन के लिए सामग्री प्रमाणन दे सकते हैं। यह दर्शाता है कि हम आईएसओ 1234 जैसे मानकों को पूरा करते हैं। यह सुनिश्चित करता है कि आपको मिलने वाले स्प्लिट पिन उन यांत्रिक और आयामी विशिष्टताओं के अनुरूप हों जिन पर हम सहमत थे।
